Institut numerique

1.4.4.2.2-Modes d’action et cibles moléculaires

L’action antalgique et antipyrétique du paracétamol résulte de son inhibition
de l’activité de la cyclooxygénase-3 (en abrégé : cox-3) produite par le cortex cérébral et qui y
est responsable de la synthèse de prostaglandines (Figure 7) notamment de PGE2, un
médiateur central de la douleur et de la fièvre, et de la cyclooxygénase-2b (en abrégé : cox-2b) produite par la moelle épinière pour la synthèse de prostaglandines médullaires en
renforcement de la perception douloureuse en cas d’inflammation (GUEUGNIAUD et DE LA
COUSSAYE, 2000 ; PELLISSIER et VIEL, 2000 ; WARNER et MITCHELL, 2002 ;
MONTAGNIER et al, 2003 ; BERENBAUM, 2004 ; PINAUD et al, 2004 ; BEAULIEU,
2005 ; ROUSSEAU, 2007 ; REZENDE et al, 2008).

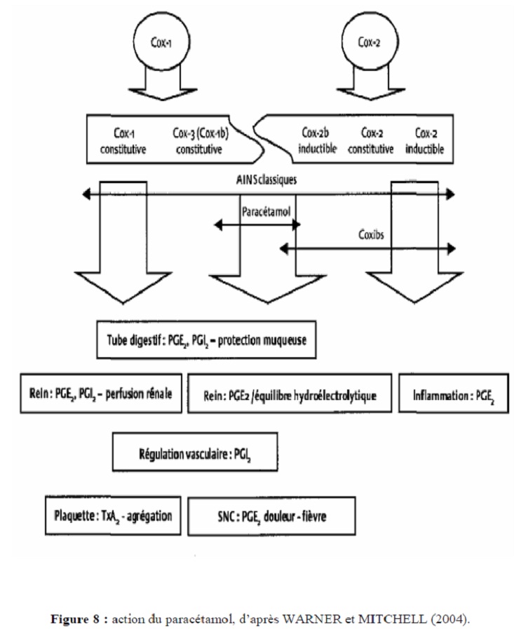
Théoriquement, le paracétamol pourrait inhiber également les cyclooxygénases
périphériques (Figure 8), notamment la cyclooxygénase-2 constitutive (en abrégé : cox-2
constitutive) et aurait une action anti-inflammatoire, sauf que son affinité pour celles-ci est
faible et que ses capacités d’inhibition sont réduites en présence de fortes concentrations de
peroxyde d’hydrogène (H2O2), condition totalement remplie lors du processus inflammatoire
(CASAMAJOR et DESCROIX, 2009).

Quant à la toxicité du paracétamol, elle est exercée par l’un des métabolites en
lesquels il est transformé. Il s’agit en l’occurrence du NAPQI (N-acétyl-p-benzoquinoneimine)
formé par l’action des mono-oxygénases à cytochrome P-450 sur le paracétamol.
Figure 8 : action du paracétamol, d’après WARNER et MITCHELL (2004).

Page suivante : 1.5- Indications thérapeutiques

Retour au menu : Mesure de l’impact toxique du paracétamol à doses thérapeutiques chez 11 alcooliques adultes volontaires à travers le dosage des taux de quelques marqueurs moléculaires de lésions hépatiques, et évaluation du danger encouru par deux présumés intoxiqués par ce médicament