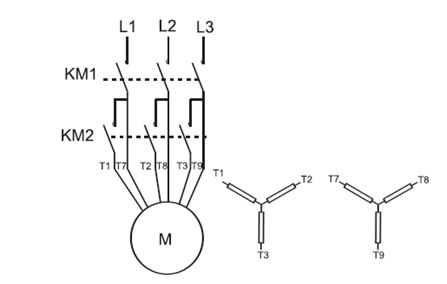
Utilisé pour certains compresseurs HD, avec une vitesse de rotation fixe, ce type de moteur comporte un enroulement statorique dédoublé en deux enroulements parallèles avec six ou douze bornes sorties. Il est équivalent à deux “demi moteurs” d’égale puissance. Au démarrage, un seul “demi moteur” est couplé en direct sous la pleine tension du réseau, ce qui divise le courant de démarrage et le couple approximativement par deux. Ce dernier est néanmoins supérieur au couple que fournirait un moteur à cage de même puissance démarrant en étoile-triangle. En fin de démarrage, le second enroulement est couplé sur le réseau, la pointe de courant est faible et de courte durée, car le moteur n’a pas été séparé du réseau d’alimentation et n’a plus qu’un faible glissement.
Fig. 2.9 : Démarrage à enroulements partagés.
Page suivante : 3) Démarrage triangle double étoiles ∆∕YY :
Retour au menu : LES COMPRESSEURS A GAZ A BORD DES NAVIRES METHANIERS

